草榴社区

草榴社区 行政管理权力运行工作流程图

2021-01-22 15:48 作者:本站编辑 审核: 浏览:

-

-

-

-

草榴社区 干部选拔任命工作流程图

草榴社区 公章使用工作流程图

草榴社区 盖章流程图

草榴社区 固定资产购置流程图



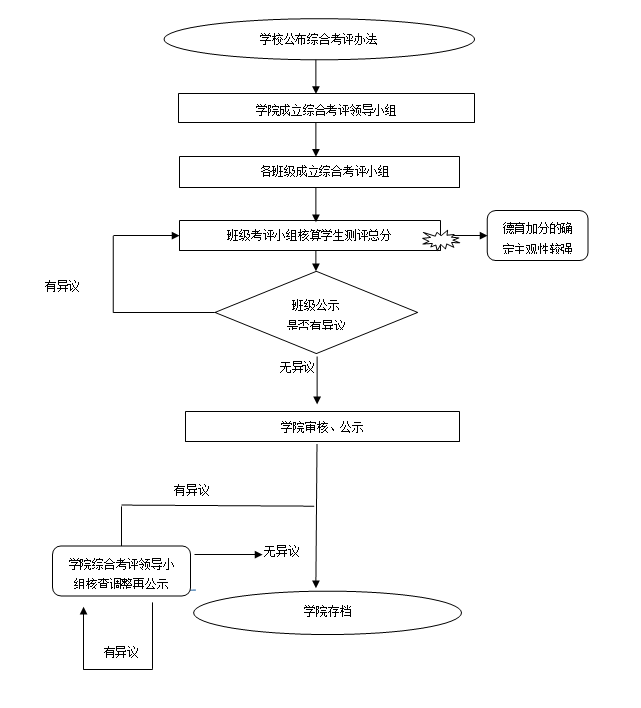
草榴社区 学生综合考评流程图